合作客戶/
拜耳公司 |
同濟大學 |
聯合大學 |
美國保潔 |
美國強生 |
瑞士羅氏 |
相關新聞Info
推薦新聞Info
-
> 鈉鉀離子濃度對礦井水和純水表面張力、噴霧霧化特性的影響(三)
> 鈉鉀離子濃度對礦井水和純水表面張力、噴霧霧化特性的影響(二)
> 鈉鉀離子濃度對礦井水和純水表面張力、噴霧霧化特性的影響(一)
> Layzer模型與Zufiria模型研究界面張力對Rayleigh-Taylor氣泡不穩定性的影響
> 深過冷Ni-15%Sn合金熔體表面張力的實驗研究與應用前景
> ?表面張力在微孔曝氣法制備微氣泡中的核心作用——基于實驗研究的深度解析
> 十二胺功能化石墨烯量子點的制備、表面張力及對L-薄荷醇的緩釋作用(三)
> 十二胺功能化石墨烯量子點的制備、表面張力及對L-薄荷醇的緩釋作用(二)
> 十二胺功能化石墨烯量子點的制備、表面張力及對L-薄荷醇的緩釋作用(一)
> 超微量天平比普通電子天平“好”在哪?
懸滴法測量液體表面張力系數的測量裝置結構組成
來源:南京航空航天大學 瀏覽 1203 次 發布時間:2024-11-20
基于懸滴法測量液體表面張力系數的測量裝置,該測量裝置包括注射器調節組件,注射器調節組件包括固定座、滑動座、第二絲桿、第三絲桿、以及第二螺母件;
基于懸滴法測量液體表面張力系數的基本原理為:當液滴被靜止懸掛在毛細管的管口處時,液滴的外形主要取決于其重力和表面張力的平衡,通過對液滴外形的測定,能夠推算出液體的表面張力系數。
現有的基于懸滴法測量液體表面張力系數的測量裝置,在使用該測量裝置實際測量液體表面張力系數的過程中,注射器的針管、攝像機、以及待測量液滴三者必須滿足如下條件:(1)注射器的針管的下端面垂直于待測量液滴的重力方向;(2)用于采集液滴輪廓的攝像機正對液滴輪廓的子午面;(3)待測量液滴具有適當的尺寸。
然而,現有的測量裝置中,注射器、攝像機、以及光源都是預先固定設置的,在實際測量過程中,使用者無法根據實際需要對注射器進行微調。因此,現有的測量裝置在實際應用中(例如物理實驗教學、科學研究等應用場景)受到明顯的限制,難以滿足實際應用的需求。
如何提供一種新型的基于懸滴法測量液體表面張力系數的測量裝置,在實際測量過程中,使用者能夠根據實際需要對該測量裝置的注射器進行微調,這已經成為本領域技術人員亟待解決的技術問題。
本發明要解決的技術問題是提供一種基于懸滴法測量液體表面張力系數的測量裝置,在實際測量過程中,使用者能夠根據實際需要對該測量裝置的注射器進行微調。
圖1為基于懸滴法測量液體表面張力系數的測量裝置的立體結構示意圖;
圖2為基于懸滴法測量液體表面張力系數的測量裝置的爆炸示意圖;
圖3為基于懸滴法測量液體表面張力系數的測量裝置的剖面示意圖;
圖4為基于懸滴法測量液體表面張力系數的測量裝置的基座組件部分的爆炸示意圖;
圖5為基于懸滴法測量液體表面張力系數的測量裝置的平移組件、導軌組件、以及門形組件部分的爆炸示意圖;
圖6為基于懸滴法測量液體表面張力系數的測量裝置的窗形組件部分的爆炸示意圖;
圖7為基于懸滴法測量液體表面張力系數的測量裝置的第一窗形件和第二窗形件的立體示意圖;
圖8為基于懸滴法測量液體表面張力系數的測量裝置的第三窗形件的立體示意圖;
圖9為基于懸滴法測量液體表面張力系數的測量裝置的注射器調節組件和注射器相對于第三窗形件的安裝關系的立體示意圖;
圖10為基于懸滴法測量液體表面張力系數的測量裝置的注射器調節組件和注射器的立體示意圖之一;
圖11為基于懸滴法測量液體表面張力系數的測量裝置的注射器調節組件和注射器的立體示意圖之二;
圖12為基于懸滴法測量液體表面張力系數的測量裝置的注射器調節組件的固定座的立體示意圖;
圖13為基于懸滴法測量液體表面張力系數的測量裝置的注射器調節組件的滑動座的立體示意圖;
圖14為基于懸滴法測量液體表面張力系數的測量裝置的注射器調節組件的爆炸示意圖;
圖15為基于懸滴法測量液體表面張力系數的測量裝置的注射器調節組件的局部立體示意圖。
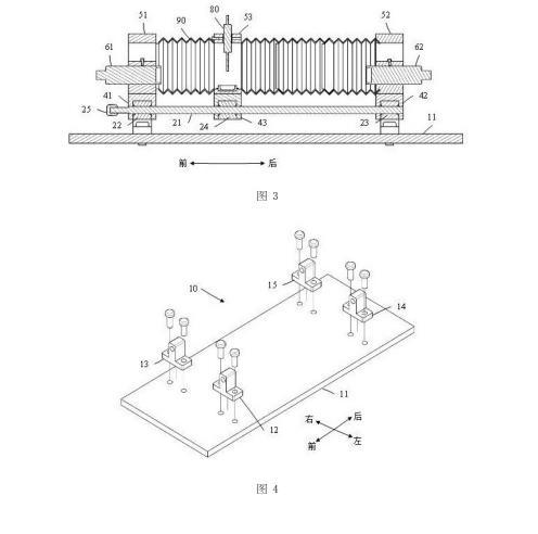
如圖1、圖2和圖3所示,本實施例提供一種基于懸滴法測量液體表面張力系數的測量裝置,該測量裝置包括基座組件10、平移組件20、導軌組件30、門形組件40、窗形組件50、光學組件60、注射器調節組件70、注射器80、以及遮光罩90。光學組件60包括攝像機61和光源62。
如圖4所示,基座組件10包括基板11和四個相同的連接件,該四個連接件為第一連接件12、第二連接件13、第三連接件14、以及第四連接件15。基板11為長方形的板體。四個連接件都呈倒置的T字型,其中每一個連接件包括一個橫部和一個豎部。四個連接件都設置于基板11的上表面,四個連接件的橫部都與基板11固定連接(本實施例中采用例如螺栓實現四個連接件的橫部與基板11固定連接),并且四個連接件的豎部均沿著豎直方向向上延伸。
如圖5所示,平移組件20包括第一絲桿21、第一軸承22、第二軸承23、第一螺母件24、以及第一手調旋鈕25。第一絲桿21沿前后方向設置,第一軸承22和第二軸承23分別套設于第一絲桿21的兩端,使得第一絲桿21能夠相對于第一軸承22和第二軸承23轉動;第一螺母件24套設于第一絲桿21上,第一螺母件24的內螺紋能夠與第一絲桿21的外螺紋相互嚙合,并且沿著第一絲桿21的延伸方向,第一螺母件24位于第一軸承22和第二軸承23之間。第一手調旋鈕25設置于第一絲桿21的前端,第一手調旋鈕25位于第一軸承22的前側,當使用者手動旋轉第一手調旋鈕25時,第一手調旋鈕25能夠帶動第一絲桿21轉動。
如圖5所示,導軌組件30包括第一導桿31和第二導桿32,第一導桿31與第二導桿32相同,并且第一導桿31和第二導桿32均呈圓柱體形。第一導桿31的兩端分別固定于第一連接件12和第三連接件14上;第二導桿32的兩端分別固定于第二連接件13和第四連接件15上;第一導桿31和第二導桿32分別設置于第一絲桿21的兩側(圖中所示為第一導桿31位于第一絲桿21的左側,第二導桿32位于第一絲桿21的右側),第一導桿31、第二導桿32和第一絲桿21三者位于同一個水平內,并且第一導桿31、第二導桿32和第一絲桿21三者相互平行。在本實施例中,第一連接件12、第二連接件13、第三連接件14、以及第四連接件15中每一者的豎部的上端設置有一個沿前后方向延伸的通孔,第一導桿31的兩端分別固定設置于第一連接件12和第三連接件14的豎部上端的通孔內,第二導桿32的兩端分別固定設置于第二連接件13和第四連接件15的豎部上端的通孔內。
如圖5所示,門形組件40包括三個相同的門形件,該三個門形件為第一門形件41、第二門形件42、以及第三門形件43。三個門形件的截面都呈門字型(即倒置的U字型),并且三個門形件的開口端都朝下。第一門形件41的左端設置有第一左通孔41-1,第一門形件41的右端設置有第一右通孔41-2,第一門形件41的中間設置有第一中間通孔41-3,第一左通孔41-1、第一右通孔41-2和第一中間通孔41-3均為貫穿第一門形件41的兩個豎壁的通孔;第二門形件42的左端設置有第二左通孔42-1,第二門形件42的右端設置有第二右通孔42-2,第二門形件42的中間設置有第二中間通孔42-3,第二左通孔42-1、第二右通孔42-2和第二中間通孔42-3均為貫穿第二門形件42的兩個豎壁的通孔;第三門形件43的左端設置有第三左通孔43-1,第三門形件43的右端設置有第三右通孔43-2,第三門形件43的中間設置有第三中間通孔43-3,第三左通孔43-1、第三右通孔43-2和第三中間通孔43-3均為貫穿第三門形件43的兩個豎壁的通孔。
第一門形件41罩設于第一連接件12和第二連接件13的上方,并且第一連接件12和第二連接件13的豎部均從第一門形件41的開口端到伸入到第一門形件41的內部空腔中,第一連接件12和第二連接件13的豎部的上端均與第一門形件41的封閉端固定連接;第二門形件42罩設于第三連接件14和第四連接件15的上方,并且第三連接件14和第四連接件15的豎部均從第二門形件42的開口端到伸入到第二門形件42的內部空腔中,第三連接件14和第四連接件15的豎部的上端均與第二門形件42的封閉端固定連接。
第一導桿31從前往后依次穿過第一左通孔41-1、第三左通孔43-1、以及第二左通孔42-1,第一導桿31的前端與第一左通孔41-1固定連接,第一導桿31的后端與第二左通孔42-1固定連接;第二導桿32從前往后依次穿過第一右通孔41-2、第三右通孔43-2、以及第二右通孔42-2,第二導桿32的前端與第一右通孔41-2固定連接,第二導桿32的后端與第二右通孔42-2固定連接。第一絲桿21從前往后依次穿過第一中間通孔41-3、第三中間通孔43-3、以及第二中間通孔42-3。
第一門形件41、第二門形件42、以及第三門形件43三者都沿左右方向設置且三者相互平行,并且第一門形件41、第二門形件42、以及第三門形件43三者都與第一絲桿21相垂直;沿著前后方向,第三門形件43位于第一門形件41與第二門形件42之間。
第一軸承22固定設置于第一門形件41的內部空腔內,并且沿著左右方向,第一軸承22位于第一門形件41的中間位置;第二軸承23固定設置于第二門形件42的內部空腔內,并且沿著左右方向,第二軸承23位于第二門形件42的中間位置;第一螺母件24固定設置于第三門形件43的內部空腔內,并且沿著左右方向,第一螺母件24位于第三門形件43的中間位置。在本實施例中,第一軸承22的上端面與第一門形件41的封閉端的下表面相互貼合且二者固定連接;第二軸承23的上端面與第二門形件42的封閉端的下表面相互貼合且二者固定連接;第一螺母件24的上端面與第三門形件43的封閉端的下表面相互貼合且二者固定連接。
如圖6所示,窗形組件50包括第一窗形件51、第二窗形件52、以及第三窗形件53,其中第一窗形件51和第二窗形件52相同。第一窗形件51、第二窗形件52、以及第三窗形件53三者都整體呈長方體形。第一窗形件51包括第一邊框部51-1和第一凸起部51-2,第二窗形件52包括第二邊框部52-1和第二凸起部52-2,第三窗形件53包括第三邊框部53-1,第一邊框部51-1、第二邊框部52-1和第三邊框部53-1中的每一者為由上、下、左、右四個邊框固定連接而成的閉合的、環形的框體結構。第一凸起部51-2固定設置于第一窗形件51的第一邊框部51-1的下邊框的上表面且相對于該下邊框向上突出(即向內突出),第一凸起部51-2上設置有沿前后方向延伸且貫穿第一凸起部51-2的第一通孔51-3;第二凸起部52-2固定設置于第二窗形件52的第二邊框部52-1的下邊框的上表面且相對于該下邊框向上突出(即向內突出),第二凸起部52-2上設置有沿前后方向延伸且貫穿第二凸起部52-2的第二通孔52-3。
第一窗形件51的第一邊框部51-1的下邊框的下表面與第一門形件41的封閉端的上表面相互貼合且二者固定連接;第二窗形件52的第二邊框部52-1的下邊框的下表面與第二門形件42的封閉端的上表面相互貼合且二者固定連接;第三窗形件53的第三邊框部53-1的下邊框的下表面與第三門形件43的封閉端的上表面相互貼合且二者固定連接。
如圖2、圖3和圖7所示,攝像機61固定設置于第一窗形件51的第一凸起部51-2的第一通孔51-3內,光源62固定設置于第二窗形件52的第二凸起部52-2的第二通孔52-3內,并且攝像機61的中心軸線與光源62的中心軸線位于同一條直線上,使得攝像機61能夠接收到光源62發射的光線。
如圖8所示,第三窗形件53的第三邊框部53-1的下邊框上設置有一個例如長方形的凹坑53-2,并且沿左右方向凹坑53-2位于第三邊框部53-1的中間位置,凹坑53-2內設置有一個積液盆53-3。第三窗形件53的第三邊框部53-1的上邊框上設置有一個例如圓形的第三通孔53-4,第三通孔53-4沿豎直方向延伸,并且第三通孔53-4位于凹坑53-2的正上方;注射器80包括主體管80-1和固定設置于主體管80-1下端面的針管80-2,主體管80-1和針管80-2均為內部中空的圓形管,并且針管80-2的直徑小于主體管80-1的直徑,針管80-2與主體管80-1的內部空腔相連通;注射器80的主體管80-1固定設置于第三通孔53-4內,并且針管80-2的末端剛好與攝像機61的中心軸線(即光源62的中心軸線)相交。在本實施例中,第三窗形件53的第三邊框部53-1的上邊框的側面設置有一個沿前后方向延伸的第一螺紋孔53-5,并且第一螺紋孔53-5與第三通孔53-4相連通;螺栓53-6設置于第一螺紋孔53-5內,螺栓53-6的外螺紋能夠與第一螺紋孔53-5相嚙合,并且螺栓53-6的里端能夠與注射器80的主體管80-1外壁相抵接,從而使得注射器80的主體管80-1固定設置于第三通孔53-4內。
如圖1、圖2和圖3所示,遮光罩90為內部中空的筒體,遮光罩90整體呈長方體形,并且遮光罩90的形狀和尺寸均與第一窗形件51(或第二窗形件52或第三窗形件53)相匹配。遮光罩90設置于攝像機61和光源62的外圍,遮光罩90將攝像機61和光源62包裹于遮光罩90的內部空腔內,避免遮光罩90之外的光線與其內部空腔內的光線相互干擾。
遮光罩90的前端與第一窗形件51的第一邊框部51-1的后側面固定連接,遮光罩90的后端與第二窗形件52的第二邊框部52-1的前側面固定連接。具體地,遮光罩90的上壁板的前端與第一窗形件51的第一邊框部51-1的上邊框的后側面固定連接,遮光罩90的上壁板的后端與第二窗形件52的第二邊框部52-1的上邊框的前側面固定連接;遮光罩90的下壁板的前端與第一窗形件51的第一邊框部51-1的下邊框的后側面固定連接,遮光罩90的下壁板的后端與第二窗形件52的第二邊框部52-1的下邊框的前側面固定連接;遮光罩90的左壁板的前端與第一窗形件51的第一邊框部51-1的左邊框的后側面固定連接,遮光罩90的左壁板的后端與第二窗形件52的第二邊框部52-1的左邊框的前側面固定連接;遮光罩90的右壁板的前端與第一窗形件51的第一邊框部51-1的右邊框的后側面固定連接,遮光罩90的右壁板的后端與第二窗形件52的第二邊框部52-1的右邊框的前側面固定連接。
第三窗形件53將遮光罩90分為前半段和后半段;遮光罩90的前半段的前端與第一窗形件51的第一邊框部51-1的后側面固定連接,遮光罩90的前半段的后端與第三窗形件53的第三邊框部53-1的前側面固定連接;遮光罩90的后半段的前端與第三窗形件53的第三邊框部53-1的后側面固定連接,遮光罩90的后半段的后端與第二窗形件52的第二邊框部52-1的前側面固定連接。具體地,遮光罩90的上壁板的前半段的后端與第三窗形件53的第三邊框部53-1的上邊框的前側面固定連接,遮光罩90的上壁板的后半段的前端與第三窗形件53的第三邊框部53-1的上邊框的后側面固定連接;遮光罩90的下壁板的前半段的后端與第三窗形件53的第三邊框部53-1的下邊框的前側面固定連接,遮光罩90的下壁板的后半段的前端與第三窗形件53的第三邊框部53-1的下邊框的后側面固定連接;遮光罩90的左壁板的前半段的后端與第三窗形件53的第三邊框部53-1的左邊框的前側面固定連接,遮光罩90的左壁板的后半段的前端與第三窗形件53的第三邊框部53-1的左邊框的后側面固定連接;遮光罩90的右壁板的前半段的后端與第三窗形件53的第三邊框部53-1的右邊框的前側面固定連接,遮光罩90的右壁板的后半段的前端與第三窗形件53的第三邊框部53-1的右邊框的后側面固定連接。
遮光罩90的上壁板、下壁板、左壁板和右壁板都為可伸縮的波紋板,使得當第三窗形件53沿著第一絲桿21前后移動時,遮光罩90能夠隨著第三窗形件53伸長或者縮短。
在本實施例的一種優選實施方式中,遮光罩90的前端面和后端面均為封閉面,遮光罩90的前端面和后端面由遮光材料制成,以防止光線透射通過。
如圖9所示,注射器調節組件70固定設置于第三窗形件53的內部空腔內。
如圖10和圖11所示,注射器調節組件70包括固定座71、滑動座72、第二絲桿73、第三絲桿74、以及第二螺母件75。
如圖12所示,固定座71整體呈L形,固定座71包括座體部71-1和背體部71-2,座體部71-1和背體部71-2均整體呈長方形,座體部71-1為閉合的環狀框體結構且位于水平面內,背體部71-2為U形框體結構且位于豎直面內,背體部71-2的下端與座體部71-1的后邊框固定連接使得二者整體呈L形,并且背體部71-2與座體部71-1的后邊框形成一個閉合的環狀框體結構。座體部71-1的左邊框包括上下設置的兩根棱柱,該兩根棱柱相互平行且二者之間設置有第一方孔71-3;座體部71-1的右邊框包括上下設置的兩根棱柱,該兩根棱柱相互平行且二者之間設置有第二方孔71-4;第一方孔71-3和第二方孔71-4均沿前后方向延伸。座體部71-1的左邊框的左側面(即外側面)上固定設置有第一延伸板71-5和第二延伸板71-6,并且第一延伸板71-5和第二延伸板71-6分別位于座體部71-1的左邊框的前后兩端,第一延伸板71-5上設置有沿前后方向延伸的通孔71-7,第二延伸板71-6上設置有沿前后方向延伸的通孔71-8。
如圖13所示,滑動座72包括第一U形板72-1、第二U形板72-2、蓋形板72-3、第一尾板72-4、以及第二尾板72-5。第一U形板72-1和第二U形板72-2的開口端都與蓋形板72-3的左側面(即里側面)固定連接,并且第一U形板72-1和第二U形板72-2均與蓋形板72-3相垂直,其中蓋形板72-3沿豎直方向延伸且蓋形板72-3上設置有通孔72-8,第一U形板72-1和第二U形板72-2均沿水平方向延伸;第一U形板72-1位于第二U形板72-2的上方,第一U形板72-1與第二U形板72-2相互平行且二者之間設置有一個縫隙72-9。在本實施例中,第一U形板72-1與第二U形板72-2相同。
第一U形板72-1和第二U形板72-2的左端面(即外端面)上固定設置有第一尾板72-4和第二尾板72-5;第一尾板72-4和第二尾板72-5均沿豎直方向延伸且二者相互平行,并且第一尾板72-4和第二尾板72-5所在的平面均與第一U形板72-1(或第二U形板72-2)所在的平面相垂直,第一尾板72-4和第二尾板72-5所在的平面也均與蓋形板72-3所在的平面相垂直;第一尾板72-4與第二尾板72-5相間設置,并且第一尾板72-4位于第二尾板72-5的前方;第一尾板72-4上設置有沿前后方向延伸的第二螺紋孔72-6,第二尾板72-5上設置有沿前后方向延伸的第三螺紋孔72-7,第二螺紋孔72-6和第三螺紋孔72-7的內壁上均設置有內螺紋,并且第二螺紋孔72-6的中心軸線與第三螺紋孔72-7的中心軸線位于同一條直線上。
如圖14所示,第二絲桿73包括第一主桿體部73-1、第二手調旋鈕73-2和第一凸緣部73-3;第一主桿體部73-1呈圓柱體形,并且設置于第一主桿體部73-1外表面的外螺紋能夠與第二螺紋孔72-6和第三螺紋孔72-7的內螺紋相嚙合;第二手調旋鈕73-2和第一凸緣部73-3分別固定設置于第一主桿體部73-1的兩端。第三絲桿74包括第二主桿體部74-1、第三手調旋鈕74-2和第二凸緣部74-3;第二主桿體部74-1呈圓柱體形且其外表面設置有外螺紋;第三手調旋鈕74-2和第二凸緣部74-3分別固定設置于第二主桿體部74-1的兩端。第二螺母件75包括螺母本體部75-1、第一翼板75-2和第二翼板75-3;第一翼板75-2和第二翼板75-3分別固定設置于螺母本體部75-1的兩側,并且第一翼板75-2和第二翼板75-3位于同一個平面內;第二翼板75-3的外邊緣固定設置有一個相對于第二翼板75-3向外凸出的凸環75-4,凸環75-4上設置有一個例如圓形的通孔75-5;設置于螺母本體部75-1的內壁上的內螺紋能夠與第三絲桿74的第二主桿體部74-1的外螺紋相嚙合。
如圖15所示,滑動座72沿左右方向設置,第三絲桿74設置于滑動座72的內部空腔內;第三絲桿74的第二主桿體部74-1位于第一U形板72-1、第二U形板72-2和蓋形板72-3圍成的框體結構內;第二主桿體部74-1的右端(即與第三手調旋鈕74-2連接的一端)穿入蓋形板72-3的通孔72-8內,并且第三手調旋鈕74-2位于蓋形板72-3的右側(即蓋形板72-3的背向第一U形板72-1和第二U形板72-2的一側面);第二凸緣部74-3設置于第一U形板72-1和第二U形板72-2的封閉端的左側(即外側),并且第二凸緣部74-3位于第一尾板72-4與第二尾板72-5之間,第三手調旋鈕74-2和第二凸緣部74-3均對第三絲桿74起限位作用。第二螺母件75套設于第三絲桿74上,第二螺母件75的螺母本體部75-1的內螺紋與第三絲桿74的第二主桿體部74-1的外螺紋相嚙合;第一翼板75-2和第二翼板75-3均設置于第一U形板72-1與第二U形板72-2之間的縫隙72-9內,第一翼板75-2在縫隙72-9內向前延伸,第二翼板75-3在縫隙72-9內向后延伸,并且第二翼板75-3外邊緣的凸環75-4伸出到第一U形板72-1和第二U形板72-2的后側。
如圖10、圖11和圖14所示,滑動座72活動設置于固定座71上。滑動座72的第一U形板72-1和第二U形板72-2的左端均穿入固定座71的左邊框的第一方孔71-3內,第一U形板72-1和第二U形板72-2的右端均穿入固定座71的右邊框的第二方孔71-4內;蓋形板72-3的左側面與固定座71的右邊框的右側面相抵接,使得蓋形板72-3對滑動座72起限位作用;第一尾板72-4和第二尾板72-5的右端面均與固定座71的左邊框的左側面相抵接,使得第一尾板72-4和第二尾板72-5對滑動座72起限位作用,并且第一尾板72-4和第二尾板72-5均位于第一延伸板71-5與第二延伸板71-6之間。
第二絲桿73沿前后方向設置;第二絲桿73的第一主桿體部73-1從前往后依次穿入第一延伸板71-5的通孔71-7、第二螺紋孔72-6、第三螺紋孔72-7、以及第二延伸板71-6的通孔71-8內;第二手調旋鈕73-2位于第一延伸板71-5的前側,第一凸緣部73-3位于第二延伸板71-6的后側,第二手調旋鈕73-2和第一凸緣部73-3均對第二絲桿73起限位作用;設置于第一主桿體部73-1外表面的外螺紋與第二螺紋孔72-6和第三螺紋孔72-7的內螺紋相嚙合。
如圖9所示,本實施例中,固定座71的背體部71-2的上端與第三窗形件53的第三邊框部53-1的上邊框固定連接,例如,固定座71的背體部71-2的上端面與第三窗形件53的第三邊框部53-1的上邊框的下表面相互貼合且二者相互粘接。注射器80的針管80-2穿入第二螺母件75的第二翼板75-3外邊緣的凸環75-4的通孔75-5內。
使用時,使用者通過第二手調旋鈕73-2旋轉第二絲桿73的第一主桿體部73-1,第一主桿體部73-1轉動使得第一尾板72-4和第二尾板72-5沿前后方向移動;第一尾板72-4和第二尾板72-5進而帶動第一U形板72-1和第二U形板72-2沿著固定座71的第一方孔71-3和第二方孔71-4移動,從而實現滑動座72的前后移動;滑動座72再經由第三絲桿74和第二螺母件75帶動注射器80的針管80-2前后擺動,從而實現對注射器80的針管80-2末端的沿前后方向的微調。使用者通過第三手調旋鈕74-2旋轉第三絲桿74的第二主桿體部74-1,第二主桿體部74-1轉動使得第二螺母件75的螺母本體部75-1沿左右方向移動;螺母本體部75-1進而帶動第一翼板75-2和第二翼板75-3沿著第一U形板72-1與第二U形板72-2之間的縫隙72-9移動;第二翼板75-3再帶動注射器80的針管80-2左右擺動,從而實現對注射器80的針管80-2末端的沿左右方向的微調。
使用時,使用者手動旋轉第一手調旋鈕25,第一手調旋鈕25帶動第一絲桿21轉動,第一絲桿21轉動使得第一螺母件24沿前后方向移動,第一螺母件24再經由第三門形件43和第三窗形件53帶動注射器80沿前后方向移動,從而實現對注射器80的沿前后方向的粗調。





