合作客戶/
拜耳公司 |
同濟大學 |
聯合大學 |
美國保潔 |
美國強生 |
瑞士羅氏 |
相關新聞Info
推薦新聞Info
-
> 鈉鉀離子濃度對礦井水和純水表面張力、噴霧霧化特性的影響(三)
> 鈉鉀離子濃度對礦井水和純水表面張力、噴霧霧化特性的影響(二)
> 鈉鉀離子濃度對礦井水和純水表面張力、噴霧霧化特性的影響(一)
> Layzer模型與Zufiria模型研究界面張力對Rayleigh-Taylor氣泡不穩定性的影響
> 深過冷Ni-15%Sn合金熔體表面張力的實驗研究與應用前景
> ?表面張力在微孔曝氣法制備微氣泡中的核心作用——基于實驗研究的深度解析
> 十二胺功能化石墨烯量子點的制備、表面張力及對L-薄荷醇的緩釋作用(三)
> 十二胺功能化石墨烯量子點的制備、表面張力及對L-薄荷醇的緩釋作用(二)
> 十二胺功能化石墨烯量子點的制備、表面張力及對L-薄荷醇的緩釋作用(一)
> 超微量天平比普通電子天平“好”在哪?
表面張力儀應用實例:板材表面油膜測量裝置及其方法
來源:上海謂載 瀏覽 1815 次 發布時間:2021-04-29
金屬板材在制作、保存的時候,通常都需要在金屬板材的表面涂上一層油膜,但是油膜的涂覆需要有一個標準,油膜涂覆量太大,則油量的浪費太大。而且板板的表面會形成大量的油漬。油膩涂覆量太小,則板材的表面可能出現涂覆不均勻的情況。
涂油量不僅直接影響著產品質量,而且影響用戶的實際使用。過低的涂油量可以影響產品在生產、剪切和運輸過程表面擦劃傷缺陷發生率;過高的涂油量易提高產品表面的“油斑”缺陷發生率,甚至降低涂漆時的漆附著性。因此,嚴格控制生產過程中的油膜厚度具有重要的實際意義,所以測量板材表面油膜量大小成為一個現實問題。
目前測定板材表面油膜的方法多是橢圓儀分析法,此方法是分析化學的一種基本分析方法。應用的原理是,如果在金屬板材表面存在著油膜等透光性薄膜,當受到直線偏光的照射時,其反射光就變成橢圓偏光。本方法利用涂油量與橢圓率之間存在著比例關系的原理,使用橢圓儀,求出涂油狀態下的橢圓偏光角(ΘI)和脫脂后的橢圓偏光角(Θ2),求出脫脂前后的橢圓偏光角差(△Θ),從而求出涂油量。
現有方法存在的問題是:反射光的強弱及方向角度與反射面的狀態有很大關系,如果反射面粗糙度越大,導致測得的數據越小。但是不同的金屬板材,其表面粗糙程序是不一樣的,這對橢圓儀的干擾作用較大。所以傳統的測量方法不具有通用性。
【發明內容:板材表面油膜測量裝置及其方法】
[0006]本發明的目的在于解決上述問題的一個或多個。
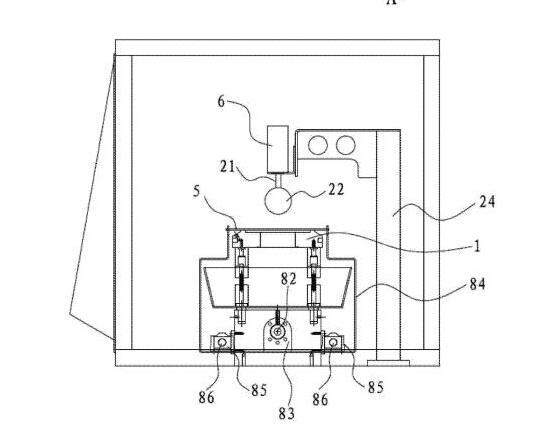
[0007]本發明提供了板材表面油膜測量裝置,其包括清洗槽、樣品固定單元、表面張力儀、鉑金板片和油膜刮板;
[0008]清洗槽呈水平設置,清洗槽包括相互連通的第一區域和第二區域,第二區域的面積小于第一區域的面積;
[0009]樣品固定單元位于第一區域的上方且能夠進行升降運動;
[0010]表面張力儀位于第一區域的上方;
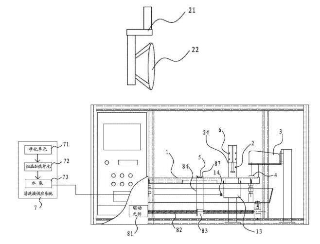
[0011]鉑金板片設置于表面張力儀上,呈懸垂狀,并能夠與清洗槽內的清洗液相接觸;
[0012]油膜刮板位于第一區域的一端,油膜刮板能沿第一區域的邊沿向第二區域運動。
[0013]其有益效果是,在使用的時候,可以在清洗槽當中放滿清洗液,清洗液通常采用清水即可,或者也可以采用其它可將油脂從樣品當中洗下來的液體。通過樣品固定單元可以將板材樣品固定住,然后做升降運動,即將樣品向清洗液當中做若干次的浸沒操作,從而將樣品當中的油清洗下來。
[0014]同時由于樣品固定單元是位于第一區域上方的,所以當油清洗下來的時候,首先是在第一區域的清洗液面擴散開來形成油膜。當油膜刮板從第一區域的一端向著第二區域方向運動的時候,油膜就會向第一區域運動,當第一區域內聚滿油膜的時候,表面張力儀就會通過鉑金板片感應到清洗液表面張力的變化,此時油油膜刮板停止運動,計算出整個油膜的面積。為了方便計算油膜的面積,可以在清洗槽的邊沿上設置相應的刻度,同時將油膜刮板設置成與清洗槽的邊沿相垂直。最后根據公式a-b*d/f計算出油膜量,其中,a為固定系數102.0,b為固定系數0.165625,d為油膜刮板到清洗槽端部的距離,f為張力儀測量的表面張力大小。
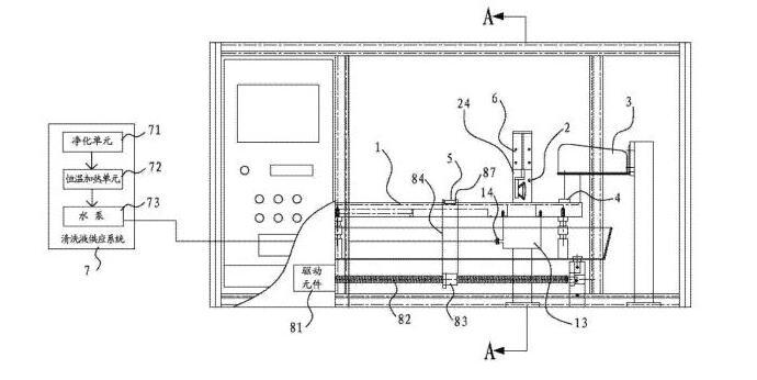
[0015]在一些實施方式中,樣品固定單元連接于驅動元件,驅動元件固定于支架上,驅動元件驅動樣品固定單元做升降運動。其有益效果是,本發明的樣品驅動元件可以是電缸、液壓缸或者氣缸,主要是可以實現樣品固定單元的升降運動即可。
[0016]在一些實施方式中,樣品固定單元包括連接桿和吸盤,吸盤固定于連接桿上,連接桿與驅動元件相連接,吸盤用于與板材樣品的一個表面相連接。其有益效果是,當板材僅有單面需要涂油的情況時,則只需要測量板材涂油面的油膜量。吸盤可以采用圓形吸盤,同時吸盤的大小與材板樣品相吻合,即板材樣品也需要設置成圓片狀。此時,吸盤一方面可以通過真空吸力很好的固定住板材樣品,另一方面,由于吸盤的大小是與樣品相吻合的,即吸盤可以完全覆蓋住樣品沒有涂油的一面,而僅把涂油的一面露出來。因為樣品沒有涂油的一面也有可能會因為涂油精度的問題或者油滴濺撒的問題而粘上油。如果不能將樣品沒有涂油的一面完全覆蓋住,則最終測量油膜的結果可能產生誤差。
[0017]在一些實施方式中,樣品固定單元包括連接桿和磁鐵,磁鐵固定于連接桿上,連接桿與驅動單元連接,磁鐵用于與板材樣品相吸引。其有益效果是,當板材的兩面都需要涂油的情況時,則需要同時測量板材兩面的油膜量。所以通過磁鐵就可以從板材樣品的側邊將樣品吸住,在進行清洗的時候即可以將樣品兩面的油都清洗下來。同時為了方便樣品的固定,還可以在磁鐵上設置一條凹槽,凹槽的寬度與樣品的厚度相吻合,從而可以保證樣品更好的固定。
[0018]在一些實施方式中,還包括清洗液供應系統,清洗液供應系統包括凈化單元、恒溫加熱單元和泵體。清洗液通過凈化單元凈化并通過恒溫加熱單元進行加熱后,再經由泵體供應到清洗槽當中。其有益效果是,先通過凈化單元,可以預先清除掉清洗液當中可能存在的油。另外,通過恒溫加熱單元可以將清洗液加熱到一定的溫度。因為溫熱狀態的清洗液,可以實現更加的油脂清除能力,從而可以將樣品上的油更方便且更完全的清洗下來。
[0019]在一些實施方式中,清洗槽的底部凹設有容納孔,容納孔能夠容納板材樣品插入到容納孔中,容納孔的底部設有排液閥,清洗液供應系統供應的清洗液通過管道傳送到容納孔中,清洗液從容納孔當中漫出并流滿整個清洗槽。其有益效果是,設置容納孔后,可以方便樣品完全沒入到清洗液當中,這樣清洗槽就只需要在容納孔位置設置的較深,其它位置設置得較淺即可。否則的話如果需要讓樣品完全沒入清洗液中,就需要將清洗槽整體設置成很深。設置排液閥后,可以很方便排干清洗槽中的清洗液。
[0020]在一些實施方式中,還包括電機、絲桿和滑塊,絲桿與清洗槽相平行設置,電機驅動絲桿轉動,絲桿轉動帶動滑塊移動,滑塊上固定連接有支撐架,支撐架呈U形結構,支撐架的兩側底部分別設有線性軸承,線性軸承固定于滑桿上,滑桿共設有兩根,滑桿與絲桿相平行。其益效果是,設置電機、絲桿和滑塊后,可以實現支撐架的線性移動。同時設置滑桿后,可以保證整個支撐架的運動軌道,防止其出現偏移。
[0021]在一些實施方式中,支撐架的兩端頂部設有支承口,油膜刮板的兩端設于支承口上,支承口的水平高度低于清洗槽頂部的水平高度。其有益效果是,由于液體的表面都會有一定的表面張力,所以清洗液的表面會高出清洗槽的邊沿一定高度,即油膜的高度要高于清洗槽的高度。所以油膜刮板需要設置在支撐架上面的,同時保護油膜刮板要稍稍高于清洗槽,即可以保證油膜刮板在行進的過程當中,剛剛可以刮動清洗液表面的油膜。
[0022]本發明還提供了一種板材表面油膜測量的方法,其特征在于,包括如下步驟:
[0023]從待測量的板材當中裁剪出一個樣品;
[0024]將樣品固定于樣品固定裝置當中;
[0025]清洗液經過凈化單元凈化并通過恒溫加熱單元加熱到30度到40度之間,經由泵體供應到清洗槽當中;
[0026]將樣品插入到容納孔當中,使得樣品完全沒入到清洗液當中,沒入的次數至少為一次;
[0027]清洗液將樣品上的油清洗下來,油在第一區域的清洗液的表面擴散成單分子膜;
[0028]移動油膜刮板,油膜刮板將第一區域清洗液表面的油膜刮動,使油膜向第二區域運動;





